Detection of radial runout of finished extra-large spherical roller bearings
Abstract: Due to the influence of aligning performance and large size, the radial runout of super-large spherical roller bearing products cannot be directly and accurately detected. It can only be indirectly controlled by detecting the runout of the outer diameter of the outer ring relative to the outer raceway and the runout of the inner diameter of the inner ring relative to the inner raceway. Therefore, according to the characteristics of spherical roller bearings, a special detection platform is designed to realize the direct detection of the radial runout of super-large spherical roller bearing products.
Keywords: spherical roller bearing; super-large bearing; radial runout; detection platform
1. Current status of runout detection of spherical roller bearing products
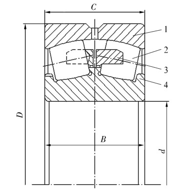
As shown in Figure 1, spherical roller bearings have two rows of spherical rollers, which mainly bear radial loads and are widely used in cement, wind power, metallurgy, papermaking, reducer and other industries. The rotation accuracy of spherical roller bearings [1] not only affects the working performance of the bearing during operation and the rotation accuracy of the supported parts, but also reflects the manufacturing accuracy of the bearing. In order to ensure that the bearing has appropriate rotation accuracy after installation, it is necessary to control and detect the inner ring radial runout Kia and outer ring radial runout Kea of the spherical roller bearing[2].

For small spherical roller bearings, the measurement method of Kia is shown in Figure 2: Place the bearing on a platform tilted at 45°, support the outer ring with two fixed blocks, place the probe in the middle of the inner diameter of the inner ring, keep the outer ring still, rotate the inner ring for more than 2 weeks, and measure the maximum and minimum values. The difference is Kia. The measurement of Kea is similar to 4. Also place the bearing on a platform tilted at 45°, support the inner ring with two fixed blocks, place the probe in the middle above the outer diameter of the outer ring, keep the inner ring still, and rotate the outer ring for more than 2 weeks to measure the maximum and minimum values. The difference is Kea.

For extra-large spherical roller bearings with an inner diameter of 400mm and a mass of more than 200kg, when the bearing is directly placed on the platform using the above method, the bearing cannot be rotated at all due to the friction, resulting in the inability to directly and accurately perform Kia and Kea detection; the thickness variation Ki of the inner ring raceway of the part to the inner diameter and the thickness variation Ke of the outer ring raceway to the outer diameter can only be indirectly controlled. Therefore, it is necessary to study the radial runout detection of extra-large spherical roller bearings.
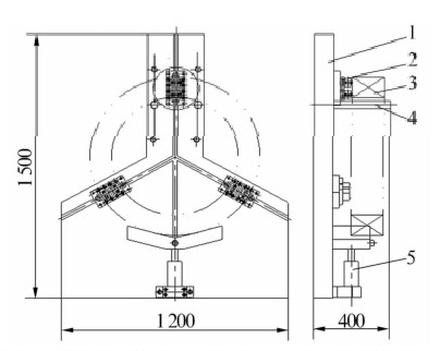
2 Special detection platform for extra-large spherical roller bearings
The special detection platform for radial runout of extra-large spherical roller bearings is shown in Figure 3, which can detect spherical roller bearings with an outer diameter of 600-1200mm. The platform size is 1500mm×1200mm, and the material is high-quality carbon steel that has been quenched and tempered. The platform is equipped with an adjustable T-slot. Three fulcrum devices are equally divided at 120° on the T-slot and can be moved on the T-slot to adapt to the size of the bearing to be tested. Each fulcrum device uses 2 sets of P5 deep groove ball bearings with adjustable mutual spacing to facilitate the support of the end faces of the inner and outer rings. The tested bearing can be easily rotated on 6 sets of deep groove ball bearings. When the outer ring needs to be rotated, the support rod supports the inner ring, and the lifting device is separated from the outer ring; when the inner ring needs to be rotated, the lifting device lifts the outer ring, and the support rod is separated from the inner ring; the platform can detect Kia and Kea at the same time after one adjustment.

The radial runout detection method is as follows: first, tilt the platform by 45°, adjust the three sets of bearing fulcrum devices to make them consistent with the size of the measured bearing, place the measured bearing on the support rod, and the inner and outer ring end faces of the bearing can be rotated on two sets of small bearings respectively; place the measuring gauge in the middle above the outer diameter, rotate the outer ring of the bearing, and the change in the reading on the dial indicator is the outer diameter runout Kea of the measured bearing; adjust the jack of the lifting device to lift the measured bearing, and the inner diameter is separated from the support rod. Place the measuring gauge in the middle below the inner diameter, rotate the inner ring of the bearing, and the change in the reading on the dial indicator is the inner diameter runout Kea of the measured bearing.
3 Detection Example
Take the 239/750CA/W33 finished bearing as an example, after tilting the detection platform by 45° and fine-tuning the bearing support device, place bearings of different numbers on the detection platform for measurement, and the measurement diagram is shown in Figure 4. The comparison results of the radial runout of the finished bearing and the thickness variation of the part (Ki and Ke) are shown in Table 1. It can be seen from the table that this detection method can reflect the rotation accuracy of the bearing.


4 Conclusion
The detection value of radial runout of super-large spherical roller products by the dedicated detection platform can reflect the actual rotation accuracy of the bearing. The detection method is convenient and reliable, which can meet the needs of the manufacturing process and customers and has the value of promotion and use. In addition, this method can also be extended to the detection of radial runout of super-large cylindrical roller bearing products.


สเปน
ฝรั่งเศส
เยอรมัน
สาธารณรัฐเช็ก
โปรตุเกส
อิตาลี
เกาหลี
ญี่ปุ่น
Vietnamese
Turkish
Arabic
Russian
สาธารณรัฐเช็ก
Thai
Irish
Bulgarian
โปแลนด์
Croatian
Ukrainian
Bosnian
Lithuanian
Latvian
Romanian
Greek
Danish
ฮังการี
Norwegian
Finnish
Dutch
Swedish
Slovak
Slovenian
Indonesian
Bengali
Serbian
Uzbek